Waarom kiezen voor Gasveer Klep Omhoog 90° - Per Stuk?
- Eenvoudige montage
- drukkracht tot 12 kg
- Inclusief bevestigingsmateriaal
Gasveer Klep Omhoog 90° - Per Stuk
Met de gasveer voor omhooggaande kleppen van Wovar maakt het niet alleen makkelijker om uw klep te openen, maar zorgt er ook nog eens voor dat deze in de geopende stand blijft staan.
Gasveer voor omhooggaande kleppen
Deze gasveer is gemaakt van vernikkeld staal en heeft een drukkracht van 12 kg en wordt inclusief bevestigingsnokken en schroeven geleverd.
Om te bepalen of deze gasveer sterk genoeg is voor uw klep, zult u de hoogte van uw klep moeten berekenen. Deze achterhaalt u met de volgende formule gebruiken: H = 2000 / W. 'H' is hierbij de maximale hoogte (in mm) van uw klep en 'W' is het maximale gewicht (in kg) van de klep. Wanneer u twee gasveren gebruikt, verdubbelt de kracht en wordt de formule: H = 4000 / W.
Gasdrukveer voor omhooggaande kleppen monteren
Voor de montage van deze gasveer hebt u een pen of potlood, kruiskop schroevendraaier en meetlat of rolmaat nodig. Deze vindt u respectievelijk in de categorieën houtbewerking, schroevendraaiers en meetgereedschap.
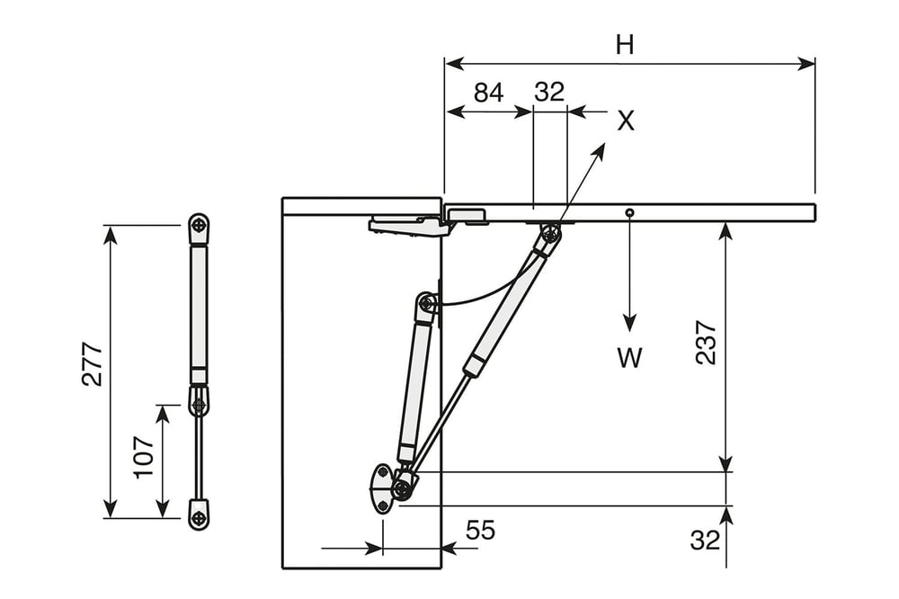
Maak daarnaast gebruik van het stappenplan hieronder in combinatie met afbeelding 2 en 3 voor de exacte afmetingen en een visuele weergave van de montage.
Stap 1: Monteer de eerste bevestigingsnok aan de binnenkant van uw kast. Zorg ervoor dat het onderste schroefgat van de bevestigingsnok op een hoogte van 32 mm en diepte van 55 mm geplaatst wordt.
Stap 2: Plaats de tweede bevestigingsnok aan de binnenkant van uw klep. Dit kan het gemakkelijkste door de gasveer aan de eerste nok vast te klikken en de gasveer volledig uit te trekken. Eenmaal volledig uitgetrokken klikt u de tweede bevestigingsnok aan de gasveer vast. U kunt nu met een pen of potlood de schroefgaten aanstippen. Het schroefgat dat zich aan de kastzijde bevindt zal hierbij 84 mm vanaf de binnenzijde zijn.
Is uw kast of klep gemaakt van hardhout? Dan raden wij aan om de gaten even voor te boren. Zo voorkomt u het eventueel splijten van het hout. Boor de gaten echter niet meer dan 10 mm diep. Voor het beste resultaat maakt u gebruik van onze hardhoutboor 2 mm.
Gasveer klep omhoog 90° bestellen
Bestel deze gasveer voor omhoog openslaande kleppen vandaag nog voor een scherpe prijs bij Wovar.
Bent u een hovenier of hebt u een bouw- of klusbedrijf? Meld u zich dan aan voor een zakelijk account en profiteer direct van extra voordeel, zoals een vaste korting!
Is deze gasveer niet helemaal wat u zoekt? Bekijk dan eens onze andere klepscharnieren. Of neem een kijkje bij onze andere scharnieren. Zo leveren wij ook kogelscharnieren, paumelle scharnieren, pianoscharnieren en keukenkast scharnieren.
Productspecificaties:
| Merk | Wovar |
|---|---|
| Artikelnummer | WV004438 |
| EAN code | 8720574799163 |
| Kenmerk 1 | Openingshoek 90 graden |
| Kenmerk 2 | Gasdrukveer |
| Kenmerk 3 | Drukkracht 12kg |
| Lengte | 277 mm |
| Afmeting | 277 mm |
| Materiaal | Vernikkeld staal |












